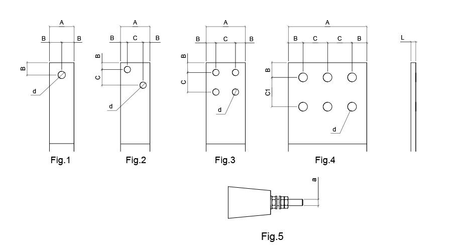
Datos Técnicos
TERMINALES
|
|
A |
B |
C |
D |
E |
F |
G |
H |
I |
J |
|
|
Fig. |
|
1 |
1 |
2 |
2 |
3 |
3 |
3 |
3 |
4 |
4 |
|
A |
mm |
30 |
50 |
60 |
60 |
80 |
100 |
120 |
120 |
160 |
160 |
|
L |
mm |
3 |
5 |
6 |
8 |
8 |
8 |
10 |
12 |
10 |
14 |
|
B |
mm |
15 |
25 |
14 |
14 |
20 |
25 |
30 |
30 |
30 |
30 |
|
C |
mm |
– |
– |
32 |
32 |
40 |
50 |
60 |
60 |
50 |
50 |
|
C1 |
mm |
– |
– |
– |
– |
– |
– |
– |
– |
60 |
60 |
|
d |
mm |
13 |
15 |
13 |
13 |
13 |
15 |
18 |
18 |
18 |
18 |
|
Fig. |
|
5 |
5 |
5 |
5 |
5 |
5 |
5 |
5 |
5 |
5 |
|
a |
M12 |
M12 |
M12 |
M12 |
M12 |
M12 |
M12 |
M12 |
M12 |
M12 |


